🚽 Zvono za Geberit AP112 vodokotlić stari tip 🔧 Model 238.080.00.1 💧 Single-flow interruptible mehanizam ✅ Kompatibilno sa Geberit exposed cistern AP112 📅 Namenjeno za modele pre 2010. godine 🛠️ Idealno za popravku i zamenu mehanizma 📌 Originalna Geberit referenca 238.080.00.1 📦 EAN: 4025416963066
🚽 Zvono za Geberit AP117 vodokotlić stari tip 🔧 Model 238.189.00.1 💧 Single-flow interruptible mehanizam ✅ Kompatibilno sa Geberit exposed cistern AP117 📅 Namenjeno za modele pre 2011. godine 🛠️ Idealno za zamenu i popravku mehanizma 📌 Originalna Geberit referenca 238.189.00.1 📦 EAN: 4025416963189
Originalni Geberit dihtung zvona – stari tip
Dimenzije: 63 × 31.5 × 3 mm
Pogodno za Geberit vodokotliće serije 112
Zamenski deo za starije modele
Šifra proizvoda: 238.070.16.1
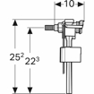
-Univerzalni ventil za punjenje Liv HDV namenjen je svim standardnim kotlićima, bilo ugradnim ili standardnim. -Izrađen je od visokokvalitetne plastike, a navoj je od mesinga.
Šifra artikla: 240.715.00.1
Plovak tip 383 – bočni priključak 3/8"
Mesingani navoj
Podesiv nivo punjenja
Izuzetno tih: 7 dB(A) pri 3 bara
Za ugradni vodokotlić
Kompletan pribor u paketu
🚽 Plovak za monoblok i vodokotliće 🔩 Priključak 3/8" ⬇️ Donji priključak za vodu ⚙️ Podesiv nivo punjenja 🧱 Mesingani unutrašnji navoj 🔇 Izuzetno tih rad 💧 Pogodan za pijaću vodu i kišnicu (uz filtraciju)
🚽 Plovak za monoblok WC šolje 📍 Priključak vode odozdo – 1/2" 🔉 Akustična grupa II: <30 dB 📏 Podesiva visina: 265 – 345 mm 🧵 Metalni navoj dužine 39 mm 💧 Preporučeni pritisak: 0,3 – 0,5 MPa 🧲 Ugrađeni filter protiv nečistoće 🧱 ABS materijal visoke izdržljivosti
🚽 Plovak za keramičke WC vodokotliće 📍 Bočni priključak – 3/8" 🔇 Akustična grupa I: <20 dB 📏 Metalni navoj: 38 mm 💧 Preporučeni pritisak: 0,5 – 0,8 MPa 🧲 Ugrađeni filter za nečistoće ⚙️ Podesivi nivo vode 🧱 ABS telo visoke izdržljivosti